Магазин запчастей для бытовой техники - Arlos
Москва
close
Выберите ваш регион
АбаканАлександровАльметьевскАнгарскАрзамасАрмавирАртемАрхангельскАстраханьАчинскБалаковоБалашихаБеларусьБелгородБердскБерезникиБийскБлаговещенскБратскБрянскВеликий НовгородВидноеВладивостокВладикавказВладимирВолгоградВолгодонскВолжскийВологдаВолховВоркутаВоронежВоскресенскВыборгГатчинаГеленджикГрозныйДедовскДербентДзержинскДзержинскийДимитровградДмитровДолгопрудныйДомодедовоДонецкЕвпаторияЕгорьевскЕкатеринбургЕлецЕссентукиЖелезногорскЖелезнодорожныйЖуковскийЗеленоградЗлатоустИвановоИвантеевкаИжевскИркутскИстраЙошкар-ОлаКазаньКалининградКалугаКаменск-УральскийКамышинКаспийскКемеровоКерчьКировКисловодскКлинКовровКоломнаКомсомольск-на-АмуреКопейскКоролёвКостромаКотельникиКрасногорскКраснодарКраснознаменскКрасноярскКурганКурскКызылЛенинск-КузнецкийЛипецкЛобняЛыткариноЛюберцыМагнитогорскМайкопМалаховкаМахачкалаМиассМоскваМурманскМуромМытищиНабережные ЧелныНазраньНальчикНаро-ФоминскНахабиноНаходкаНевинномысскНефтекамскНефтеюганскНижневартовскНижнекамскНижний НовгородНижний ТагилНовокузнецкНовокуйбышевскНовомосковскНовороссийскНовосибирскНовоуральскНовочебоксарскНовочеркасскНовошахтинскНовый УренгойНогинскНорильскНоябрьскОбнинскОдинцовоОктябрьскийОмскОрелОренбургОрехово-ЗуевоОрскПавловский ПосадПензаПервоуральскПермьПетрозаводскПетропавловск-КамчатскийПодольскПрокопьевскПсковПушкиноПятигорскРаменскоеРеутовРостов-на-ДонуРубцовскРыбинскРязаньСакиСалаватСамараСанкт-ПетербургСаранскСаратовСевастопольСеверодвинскСеверскСергиев ПосадСерпуховСимферопольСмоленскСосновый БорСочиСтавропольСтарый ОсколСтерлитамакСтупиноСургутСызраньСыктывкарТаганрогТамбовТверьТихвинТольяттиТомилиноТомскТроицкТулаТюменьУлан-УдэУльяновскУссурийскУсть-ИлимскУфаУхтаФеодосияФрязиноХабаровскХанты-МансийскХасавюртХимкиЧебоксарыЧелябинскЧереповецЧеркесскЧеховЧитаШахтыЩелковоЭлектростальЭлистаЭнгельсЮжно-СахалинскЯкутскЯлтаЯрославль
  • - бесплатно по РФ
    Автоперезвон. Работает по принципу: Вы позвонили на номер, мы сбрасываем звонок и перезваниваем через 3 секунды.
  • - по Москве
  • 8 (925) 663-83-63

Call-центр

пн-вс: 10:00-19:00

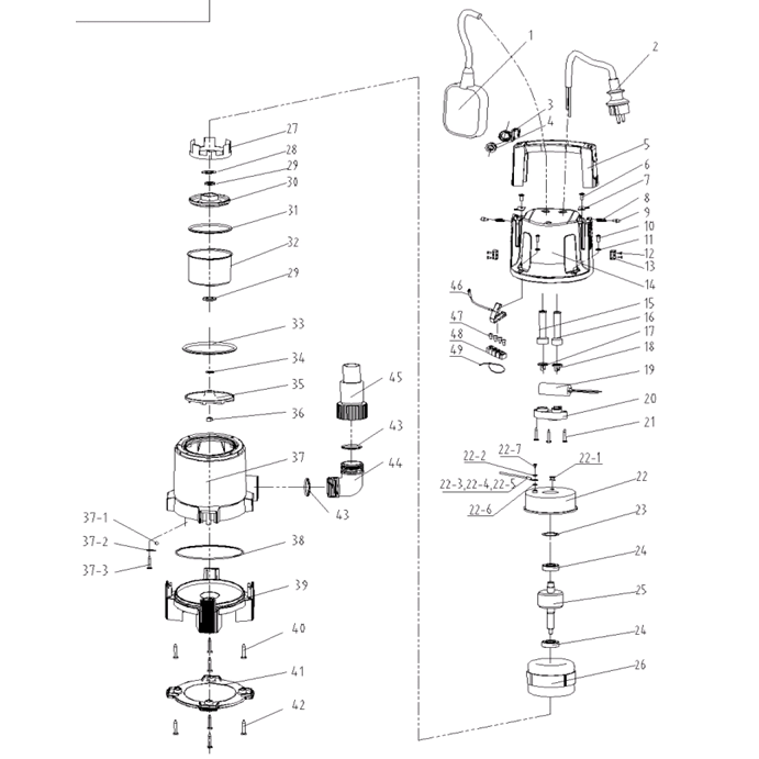
Насос дренажный НПГ-Т3-550

Данная модель имеет несколько схем

NАртикулНазваниеСрок отгрузкиЦенаКупить
T21 U009-620-1RS Подшипник шариковый (32х12х10) U009-620-1RS для ЗЦПБ-370, ЗЭП-600Н, НПГ-М3-1100-С 189 р.
1 U452-400-002 Поплавок в сборе 657 р.
2 U099-004-009-15 Шнур сетевой Rubber, 3x0,75мм.кв, 15м 490 р.
3 N000-025-987 Хомут
4 N000-025-988 Втулка
5 N000-025-989 Ручка 250 р.
7 N000-025-991 Шайба
8 N000-025-992 Пружина
9 N000-025-993 Заклепка
11 UM04-900-001 Шайба D5 92 р.
13 N000-025-995 Заклепка
14 N000-025-996 Корпус двигателя 673 р.
15 N000-010-079 Воротник шнура
16 N000-025-787 Сальник D24xd12xh4.5 N000-025-787 для насосов НПБ-300, НПГ-Т3-900, НПГ-Т3-1100-С 189 р.
16 N000-000-608 Воротник шнура 151 р.
17 U452-400-008 Шайба прижима пласт. 94 р.
18 N000-000-610 Втулка кабеля 151 р.
19 V000-000-036 Конденсатор 4мФ 450В CBB60
20 U452-400-011 Планка прижима 189 р.
21 UM02-000-039 Саморез 4x34 PH2 #F 92 р.
22 N000-000-613 Крышка двигателя верхняя
22-1 N000-000-614 Уплотнитель провода
22-2 UM04-003-001 Шайба стопорная D4 92 р.
22-3 N000-000-616 Провод заземления
22-4 N000-000-617 Клемма обжимная
22-5 N000-000-618 Трубка термоусадочная
22-6 UM04-001-002 Шайба-гровер D4 92 р.
22-7 UM01-000-012 Винт M4x10 92 р.
23 U365-150-038 Кольцо пружинное D31 92 р.
25 N000-026-003 Ротор
26 N000-010-095 Статор
26.С V000-001-031 Двигатель в сборе 550 Вт
27 N000-000-732 Уплотнение
28 N000-000-626 Прокладка
30 N000-000-628 Щит двигателя
31 N000-000-629 Кольцо уплотнительное
32 N000-000-737 Крышка нижняя
33 U452-400-014 Уплотнение электродвигателя D92x5 286 р.
34 N000-000-634 Прокладка регулировочная
35 N000-010-105 Крыльчатка 183 р.
36 UM05-001-003 Гайка M8 (автогровер) 92 р.
37 N000-026-004 Корпус насоса
37-1 N000-010-109 Шарик стальной D6
37-2 N000-010-110 Шайба
38 U452-400-025 Кольцо уплотнительное D126х3 189 р.
39 N000-026-001 Основание насоса 771 р.
41 N000-026-002 Крышка 480 р.
43 N000-025-823 Кольцо уплотнительное D43хd37хh3.0 92 р.
44 U452-400-020 Патрубок D48x72x72 189 р.
45 U452-400-021 Штуцер выходной D54x100 92 р.
46 N000-000-642 Провод заземления
47 N000-000-643 Разъем
47 N000-000-644 Разъем
48 N000-000-645 Зажим
49 N000-000-646 Хомут
Найдено товаров: 55
1
▲ Наверх
0
8 (925) 663-83-63

Call-центр

пн-вс: 10:00-19:00

НАЙТИ ПО МОДЕЛИ
Введите номер заказа
Введите номер своего заказа, что бы узнать его текущий статус.
Что бы получить доступ к расширенным функциям, пройдите не сложную регистрацию. Зарегистрироваться